2023年生产实习总结与项目介绍
南京轴承有限公司
一、企业信息
企业名称:南京轴承有限公司
企业简介:南京轴承有限公司,始建于1970年,于2004年7月完成国有企业改制,公司是国内汽车离合器分离轴承研发、制造的龙头企业,生产的“精宁”牌汽车离合器分离轴承品种规格达500余种, “精宁”品牌多次获得省、市优秀新产品奖和国家级新产品奖,荣获轴承行业十佳品牌称号。公司具有精良的装备,精湛的工艺,精益的品质,具有800万套汽车离合器分离轴承年生产能力。

全体实习同学与企业导师合影

二、实习项目及分组
项目一
课题名称:装配车间滚针垫片安装滚针方式改进项目
课题简介:滚针垫片是装配车间里需要用到的一个工件,该工件滚针的安装方式采用人工安装,劳动强度大,产量低,需要对滚针的安装方式进行改进,采用自动安装降低劳动强度,提高效率。
小组成员:王宏、孙志远、李昊宸
企业导师:徐志国

项目成果:
滚针装配方案采用永磁吸附安装的方式。


图2.吸附装置

图3.吸附装置整体磁场分布

图5.吸附装置磁铁处磁场分布
打印件实物展示

图4.3D打印工装实物

图6.压入滚针演示

图7:垫片上料定位夹紧装置
项目完成:专用工具实物模型制造,相关结构参数方案设计,滚针自动上料设计、垫片自动上料机构设计,以及SOLIDWORKS三维建模。
- 项目二 
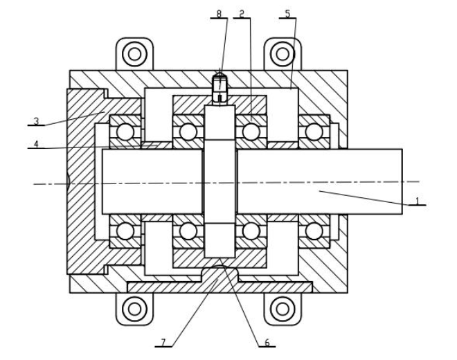
项目名称:设计 6207 轴承实验头工装
课题简介:根据高速轴承实验机外形,运用相关机械专业知识逆向分析,设计出能够实现高速轴承实验机功能的相关结构。
小组成员:万君豪、蔡路、林浩睿
指导老师:季鹏

项目成果:
功能分析:
该高速轴承实验机最主要的是有两个功能:
1)轴向加载:保证两个测试轴承受力情况基本一致
2)径向加载:如何在高速旋转的轴承内圈和主轴与固定的机架之间施加径向力。
结构设计:


图 1.轴向加载示意图 图 2.径向加载示意图


图 3.装配体模型图 4.装配图
装配图结构由机架、主轴、 轴套、 轴向加载端盖、 径向加载端盖、 径向加载块共 6 个零件和 4 个 6207 轴承组成。
- 项目三 
项目名称:轴承外壳弹簧卡安装工装设计
项目简介:轴承外壳弹簧卡原采用手工装配,用锤子将上端凸出部分敲弯使其卡入凹槽中固定,工人劳动强度大,效率低,设计一个半自动化工装改进装配方案。
小组成员:陈响宇、黄治黔
指导老师:季鹏

项目成果:
轴承外壳安装弹簧卡加工前后对比图:


加工前 加工后
工装采用的定位方法:

加工步骤:

- 项目四 
项目名称:关于径向轴承游隙的研究和分析
项目简介: 轴承游隙的定义、轴承游隙的目的、轴承游隙过大过小对轴承工作的影响、轴承游隙的变化、轴承游隙的选择、径向游隙与轴承使用寿命的关系:
小组成员:张天宇、宋卓恒
指导老师:季鹏、徐志国

项目成果
通过调研了解轴承游隙的定义:轴承在未安装于轴或轴承箱时,将其内圈或外圈的一方固定,然后使轴承套圈未被固定的一方做径向或轴向移动时的移动量。其目的是为了保证轴承在运转时灵活无阻的自由平稳转动,在保证轴承中心线旋转稳定的同时,还要保证轴承内部滚动体数量尽可能最多的承担载荷,来满足轴承较长的使用寿命。
轴承的寿命与轴承游隙之间的关系大多为如下趋势:

项目五
项目名称:新能源车减速器应用工况调研报告
项目简介: 新能源商用车、乘用车减速器轴承温度、转速工况、润滑、载荷、工作环境等调查;主流国企的新能源车质保期限调查。
小组成员:王志坚、邵传扬
指导老师:季鹏、徐志国

项目成果:
对新能源汽车深层次的了解,同时对正常车辆的减速器进行调查,以达到对比的目的,为接下来我们去了解新能源汽车的研究有更加的印象。
通过百度,知网,汽车官网等方式,我们对汽车的工况做了一定程度的了解,并以表格形式记录下来:
新能源汽车整车和三电系统质保:





